Semi-flensekoblinger
Halvflenser ringer fra den tyske selskapsstandarden SN 532, være den samme som ISO 6162 og SAE J518 delte flenshalvdeler. Det er SAE 3000 psi (kode 61) og SAE 6000 psi (kode 62) halvflenstyper, tilsvarer også SN 532 del 1 og SN 532 del 2.
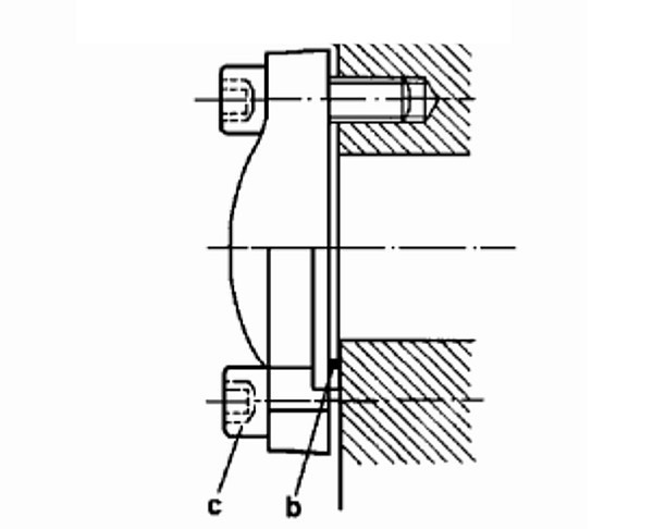
Du finner to semiflanger i koblingstilkoblinger av flens, SAE-flenser med flenset sveisehals 3000 psi og 6000 psi.
Type A-flensekoblingstilkobling er fra rør til SAE-port: 2 semiflanger; flens sveisehals med O-ring spor; O-ring; bolter.
Type B flensekobling er fra rør til rør: 2 semiflanges; flens sveisehals med O-ring spor; O-ring; bolter og muttere; flens sveisehals uten O-ring spor; solid flens.
Type C-flensekoblingstilkobling med en flenset sveisehals: 2 semiflanger; flens sveisehals med O-ring spor; O-ring; bolter og muttere; solid flens.
Type D-flensekoblingstilkobling med blindpinne: 2 semiflanges; flens sveisehals uten O-ring spor; O-ring; bolter og muttere; blind krage med O-ringspor.
Type E flensekoblingstilkobling med blindpinne: 2 semiflanges; O-ring; bolter; blind krage med O-ringspor.
Type F-flensekoblingstilkobling med blindpinne: 2 semiflanges; O-ring; skruer;
Semiflanges klemmedimensjoner som de samme for FL / FS splitflenseklemmer

Del nr. | DN | Rørtilkobling | A | T | L | M | Bolt | O-ring | |
Utenfor maks | innvendig maks | ||||||||
FCSN-12L | 3/4" | 30,0 | 20,0 | 22,3 | 47,6 | 70 | 32,2 | M10x30 | 24,99x3,53 |
FCSN-16L | 1" | 38,0 | 28,0 | 26,2 | 52,4 | 80 | 38,5 | M10x30 | 32,92x3,53 |
FCSN-20L | 1 1/4" | 42,4. | 33,0 | 30,2 | 58,7 | 90 | 43,7 | M10x35 | 37,69x3,53 |
FCSN-24L | 11/2" | 48,3 | 42,0 | 35,7 | 69,9 | 100 | 50,8 | M12 x 50 | 47,22 x 3,53 |
FCSN-32L | 2" | 60,3 | 52,0 | 42,9 | 77,8 | 120 | 62,8 | M12 x 50 | 56,74 x 3,53 |
Populære tags: semi flens koblinger, Kina, produsenter, leverandører, tilpasset, messing, swagelok, Parker, Stauff, Brennan, rustfritt stål
















