1. Definisjon av BSPP Hydraulisk slangekonfigurasjon, vanligvis kalles vi BSP, som er BS 5200 Standard med BSPP-tråd, er også den samme som ISO8434-6 standardforbindelse, men standard for slangekonfigurasjon med 60 deg flareendring er ISO 12151-6. Det er en forbindelse til BSP 60 deg konusadaptere.
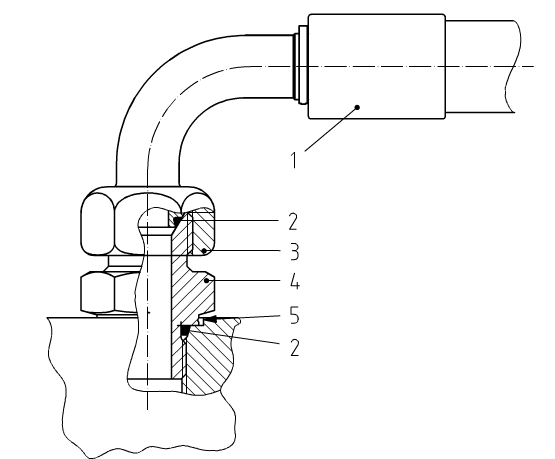
2. Metode for BSP hydraulisk slangekobling, som nr. 1 er hydraulisk slangemontering med krympeslange, 2 er o-ringtetning, 3 er mutter, 4 er rettstikkontakt i samsvar med ISO 8434-6, 5 er r-port i samsvar med ISO 6149-1.

3. To typer BSP hydrauliske slangefittings:
![]() | ![]() |
| Mann 60 g hosefeste | Kvinne 60-siders slangeinnsats |
1. BSP HOSE FITTINGS 12611


2. BSP HOSE FITTINGS 22611/22611-T


3. BSP HOSE FITTINGS 22691/22691-W


Populære tags: BSP hydrauliske slanger, Kina, produsenter, leverandører, tilpasset, messing, Swagelok, Parker, Stauff, Brennan, rustfritt stål

















